风幕机分类、工作原理
风幕机又叫空气幕,英文名称:aircurtain、airdoor空气幕又称为风幕机、门帘机、风帘机、空气门。主要用以安装在有空调环境的公共场所的出入口上,应用特制的高转速电机,带动贯流式、离心式或轴流式的风轮运转产生一道强大的气流屏障,形成一面无形的门帘,能有效保持室内空气清洁,阻止冷热空气对流,减少空调能耗,延长空调使用寿命,防止灰尘、昆虫、及有害气体的侵入。

主要作用:
1.创造舒适的室内环境:通过产生高速的气流,将室内外分成两个独立温度区域,保持室内空调及净化空气的效果,节省电能的同时,并令空气循环,持续形成的空气门,能有效防止冷/暖气外泻,节省用电,将室内外分成两个独立温度区域,在空调长时间运转时,辅助循环调节温度,达到节约能源改善环境的目的。
2.防尘、防虫效率:空气幕产生高速气流,形成一道保护门,能有效阻挡室外灰尘及飞虫侵入,保持室内清洁。
3.防烟及有害气体效果:空气幕的空气循环系统能令室内各角落强力阻隔室外油烟辛辣味的飘散及工业废气、汽车尾气等有害气体进入室内。
4.空气循环效果:在体育馆、电影院、娱乐场所等因空间太大而产生空调能量分配不均时,可借空气幕的空气循环系统功能达到室内温度均衡。
风幕机工作原理示意图

单吹式或吹吸式空气幕,都需要喷射气流,一般人们把喷口喷射的气流当做自由射流。当射流离开孔口后,周围空气被卷入其中,故射流直径(或宽度)随着离孔口距离增加而成正比增加。
喷射气流与吸气流相比,具有速度衰减慢的特点。总而言之,空气幕工作原理就是让高速的空气流形成一道墙。

风幕机分类
按配用分机型式分类:
1)贯流式:又称横流式,具有圆筒式形状,气流垂直于轴线进入,以相反方向穿过叶片排出。贯流式风幕机进出口气流在较大的送回平面内很均匀,适用于隔离空间小的场合。
2)离心式:气流从风轮的一端(或两端)沿轴线进入,从垂直于轴线的方向排出。离心式风幕机出风集中,压力较大,适用于隔离空间大的场合。
3)轴流式:气流主要沿轴线方向运动,即沿轴线方向进,同时也沿轴线方向流出。轴流式风幕机出风集中,风量较大,适用于安装高度较低、空间较大的场合。
按送出气流的处理状态分类(一)
按送出气流的处理状态分为非加热风幕机和热风幕机。其中热风幕机按其热源种类又可分为热水加热、蒸汽加热和电加热。
按风轮直径分为90mm、120mm、130mm和150mm等,大小不同,产生的风量也不同。
按机身长度可分为900mm、1000mm、1200mm、1500mm、1800mm等。
按安装高度可分为25、30、35、40、45等,分别对应安装高度:2.5米、3.0米、3.5米、4.0米、4.5米以上。
按送出气流的处理状态分类(二)
自然风风幕机
自然风风幕机主要用于华中、华南等高温炎热地区,以夏季阻隔室内冷气外流为主要目标;自然风风幕机结构比较简单,目前国内外各大品牌都有自然风风幕机产品,而且产品比较成熟;一般而言,自然风风幕机由于出风口部分没有加热器阻隔,因此风力、风量充足,可悬挂高度较高。
冷热两用风幕机
冷热两用风幕机都以中央空调系统的水为冷热源,夏季可用中央空调系统的冷水进行制冷,冬天可以制热,和一般电辅加热风幕机相比,增加了夏季制冷功能,从而拓展了风幕机的功效。
按送出气流的处理状态分类(三)
热风幕机
主要用于华北、西北及东北等地,主要用于冬季阻隔室外冷空气侵入,即封门,另外还起到加热取暖的作用;目前最常见的热风幕机以电辅加热为主,在出风口末端安装有PTC加热器,用于对气流进行加热;确保加热效果,因此出风口位置的加热器密度较高,而且尺寸较大,因此必然导致出风口风速降低、风量减小,从而严重影响风幕机的另一个主要功能——风力阻隔为解决此难题,有些厂家将加热器设置在了风幕机的背部进风口,从而在气流进入风幕机腔体时进行加热,如此减小了风幕机出风口部分的风力阻尼,从而完美解决了这一问题。
老式电加热风幕机以电阻丝为热源,因此普遍存在功耗高,寿命短等不足。
按送风方向分类
上吹下吸、侧吹侧吸式、下吹上吸式、上吹侧吸式、两侧吹,上(或下)吸式、两侧吹,两侧吸式、上吹式、侧吸式、下吹式。

大门空气幕
侧送式空气幕 、下送式空气幕、上送式空气幕:
吹吸式空气幕
风幕机的结构
电机驱动电路原理图:
出口风速及噪声这两项指标将直接反映产品质量的优劣。
空气幕设计计算与应用
空气幕设计计算


风幕机选型要点
选用风幕机应根据门的实际宽度和高度,请参照风幕机的技术参数。
安装风幕机的门口宽度:风幕机的长度应略长于或等于门的宽度,若门过宽时,可采用多台连接使用(如门口宽度为2米,则可选择两台1.0米长度的风幕机,如门口宽度为2.4米,可以选择两台长1.2米的风幕机)。
安装风幕机的门口高度:(一般风幕机可吹2.5米高,如门口高度超过3米则需要选择加大风量的风幕机,否则无法达到风力阻隔要求);如果安装的实际环境不同,例如靠近公路或处于风沙较大的地区,应选用风幕机的有效隔断距离大于门的高度的风幕机。门的高度较高时,应尽量选用遥控型的;在油烟浓度大的地方,如:厨房,应选用金属风轮的风幕机。
选型误区:
并不是风速越高,风幕机的隔断效果就一定越好。风速过大,碰到地面后反弹引起气流乱串,从而影响风幕机对室内外空气的隔断效果。因此为避免选型误区,我们要根据具体的门高并加以结合具体环境来选用.一般来讲,门高3米以内,到达地面的风速能在2-2.5米,就能起到很好的隔断效果。
大风量风幕机并不一定是最好的选择,因为风量越大,随之而来的是噪音值越高,对于对噪音值有严格要求的场所,除了风量参数外,更多需要考虑是否舒适性。
三种风幕机的优缺点:
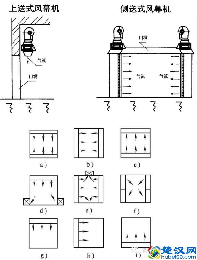
1.上送式空气幕
空气幕安装在门洞上部。上送式空气幕安装简便,不占建筑面积,不影响建筑美观,送风气流的卫生条件较好,适用于一般的公共建筑。尽管上送式空气幕阻挡室外冷风的效率不如下送式空气幕,但它仍然是最有发展前途的一种形式。
2.侧送式空气幕
空气幕安装在门洞侧部,分为单侧和双侧两种。工业建筑,当外门宽度小于3M时,宜采用单侧送风,当外门宽度为3~18M时,宜采用单侧或双侧送风,或由上向下送风。为了不阻挡气流,装有侧送式空气幕的大门严禁向内开启。
(注:双侧空气幕的两股气流相遇时,部分气流会相互抵消,因此效果不如单侧好)
3.下送式空气幕
空气幕安装在地面之下。由于下送式空气幕的射流最强区在门洞下部,因此抵挡冬季冷风从门洞下部侵入时的挡风效率最好,而且不受大门开启方向的影响。但是下送式空气幕的送风口在地面下,容易被赃物堵塞,而且下送风的气流容易将衣裙扬起不受人们欢迎。目前下送式空气幕已很少使用。
吹吸式空气幕的应用

本文地址:问答解惑频道 https://www.hkm168.com/live/124023.html,易企推百科一个免费的知识分享平台,本站部分文章来网络分享,本着互联网分享的精神,如有涉及到您的权益,请联系我们删除,谢谢!







相关阅读








